東莞電機的缺相和錯相保護電路圖說明
點擊次數:
更新時間:2016-02-19 10:09:42 【
打印此頁】 【
關閉】

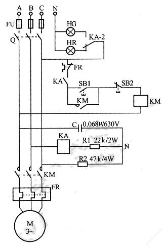
如東莞電機上圖所示:將一個繼電器線圈接入相序判別電路,作為錯相保護和缺相保護電路。
閉合上開關Q,當電路為A、B、C順相序時,繼電器KA線圈上有216V電壓,使KA吸合,這時按下起動按鈕SB1,由于KA常開觸點已經閉合,所以接觸器KM得電吸合并自鎖,東莞電機起動并運轉。當電源為A、C、B相序時,在KA線圈上僅有42V電壓,KA不動作,并且即便按下按鈕SB1,KM也不動作,東莞電機不轉,實現逆相保護。
標簽:   東莞電機 電機保護電路